
Foto : Gizmochina
Teknologi.id - Dewasa ini, semakin banyak inovasi yang dipatenkan oleh berbagai perusahaan teknologi di dunia. Google mengumumkan sebuah paten unik miliknya yang menunjukkan bahwa pengguna dapat mengambil foto/selfie tanpa smartphone. Menariknya, paten baru ini menunjukkan bahwa hanya dengan menggunakan sebuah cincin pintar, Anda sudah bisa mengambil foto/selfie.
Seperti yang telah dilaporkan oleh Softpedia, Google sudah resmi mengajukan paten ini di USPTO sejak Mei 2019 lalu. Namun, paten tersebut baru dipublikasikan pada 10 November 2020. USPTO adalah Kantor Paten dan Merek Dagang Amerika Serikat. Jika dilihat dari abstrak paten, cukup banyak menegaskan bahwa cincin itu adalah perangkat pintar yang dapat dikenakan sebagai kamera.
Baca Juga : Hal-hal yang Sebaiknya Tidak Kamu Googling
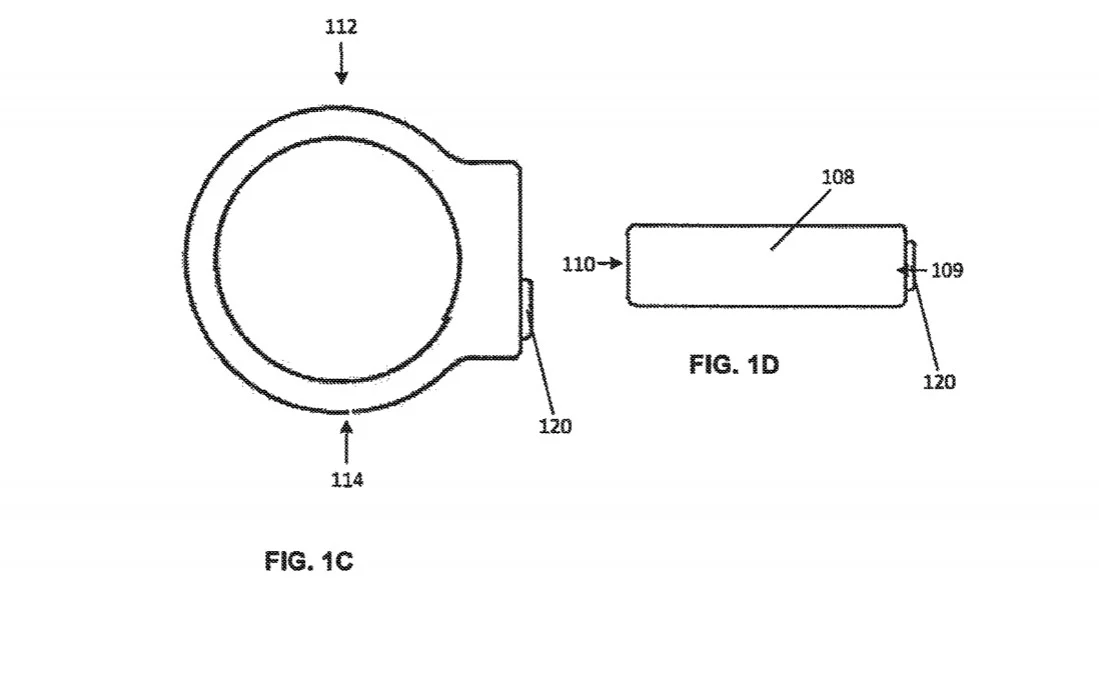
Sesuai deskripsi paten, cincin pintar ini memiliki bukaan yang cukup untuk dimasukkan ke jari penggunanya. Smart Ring tersebut diketahui memiliki beberapa komponen yang ditempatkan di dalam seperti berikut ini:
- Prosesor (untuk memproses, mengoordinasikan, mengirimkan data)
- Perangkat input (tombol / joystick / sensor sentuh / tuas / dial)
- Sensor optik (kamera normal / fokus otomatis- untuk mengambil gambar)
- Transmitter (mengirim gambar ke perangkat eksternal - nirkabel)
- Sumber Daya (bersifat opsional berupa baterai / sel bahan bakar / ultra-kapasitor - untuk memberi daya prosesor, pemancar & kamera fokus otomatis)
- Indikator (sumber cahaya / speaker / perangkat umpan balik haptic)
Smart Ring juga membutuhkan perangkat kedua yang dapat dikenakan, contohnya HUD (Heads-Up Display) untuk mentransmisikan dan menampilkan gambar. Untuk tujuan representasi, Google telah menunjukkan skema Smart Glass. Selain itu, perusahaan mengonfirmasi jika belum memasukkan implementasi lainnya.

Foto : Gizmochina
Google mengatakan bahwa Smart Ring ini terdiri dari dua permukaan. Sisi yang pertama digunakan untuk menampung kamera, dan yang lainnya menampung perangkat input. Kemudian, kedua permukaan dirancang untuk miring ke samping agar memberikan kenyamanan bagi pengguna dan jangkauan jarinya.